Grand terrain plat, Pont-Rouge, Porneuf, Québec

Rue Jobin, Pont-Rouge, QC, Québec City 0 views 1 month ago
Studio Bedrooms
Land for Sale Type
Description
Terrain d'exception: Rare opportunité dans un secteur paisible



Situé au bout d'une rue privée en cul-de-sac, ce terrain remarquable de 43 055,64 pi² offre un cadre de vie rare, alliant tranquillité, intimité naturelle et proximité stratégique des services. Une opportunité exclusive pour concrétiser un projet résidentiel et une mini-fermette dans un environnement recherché.

Caractéristiques distinctives



Terrain entièrement plat, idéal pour une construction haut de gamme

Orientation sud / sud-ouest, assurant un ensoleillement optimal

Zonage îlot déstructuré, permettant la réalisation d'une fermette

Fond sablonneux, aux zones travaillées, parfait pour bâtir

Terrain sans services

Aucune taxe à l'achat, un atout financier majeur grâce à une vente directe du propriétaire

Ce terrain a bénéficié de soins méticuleux au cours des trois dernières années:



Entrée de terrain (2023) avec fond de gravier 0-4 po

Système de canalisation pour eaux pluviales et futur drain installé à l'automne 2024

Plus de 100 arbres et arbustes fruitiers soigneusement sélectionnés et entretenus :

Pommiers, poiriers, noisetiers, cerisiers, groseilliers, pruniers, camerisiers, amélanchiers, bleuets, framboisiers, etc.

Création d'un écran naturel, d'une intimité et d'un potentiel d'autonomie alimentaire.



Localisation privilégiée

Un emplacement idéal pour ceux qui recherchent la nature sans compromis sur l'accessibilité :



7 minutes des services de Pont-Rouge

20 minutes de Québec

10 minutes du fleuve

2 minutes du golf

Un secteur paisible, harmonieux et prisé, parfait pour un projet de résidence principale ou secondaire.

Informations techniques

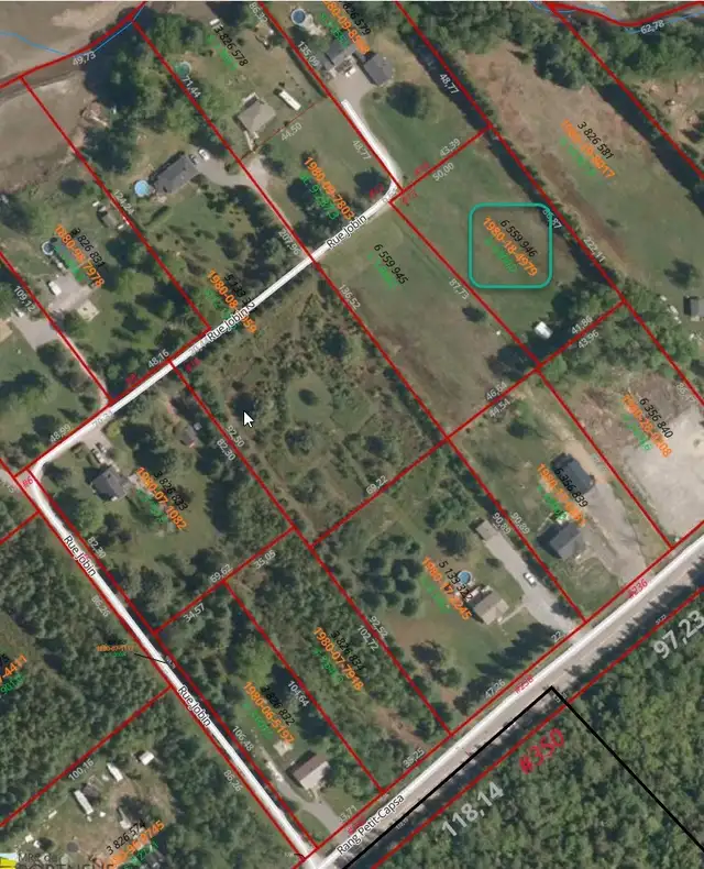
Numéro de cadastre : 6 559 946



Évaluation municipale 2024 : 137 200 $



Prêt à accueillir vos rêves et votre projet de construction



Pour toute information ou pour planifier une visite

Contact par téléphone ou courriel.

Karyna: 418-951-8036
Read more
Property Details
Market Price Insight
Based on 17,508 rental transactions in Québec City
$1.31
Avg $/sqft
$946
Avg Monthly
18299% above avg
This Listing
Source: Market data 2019–2020 · Québec City
Price History — Land for Sale in Québec City

Average listing price over the past 24 months for this category and city.

Location

Approximate location shown for privacy.